[묻고답하기 이용안내]

오늘 헝그리 보더분들한테 여러 도움을 받네요..

ㅡㅡㅋ 다름이 아니라..

바인딩 셋팅 할때 헷갈려서요..

사진에는 부츠 없지만 다 올려서 셋팅 했습니다,,

바르게 한게 맞는지 봐주세요..

IMG_2587.jpg

일단 부츠랑 결합해서 부츠빼고 찍은거고용

IMG_2585.jpg IMG_2584.jpg

이건 부츠 넣고 찍었습니다..ㅎㅎ사진으론 차이나 보이는데 자로 체크했을땐 2.5정도(앞,뒤 다)나옵니다..

여기서 질문 하나 할께요.. 바이딩이 데크에 삐져 나왔는데 상관없나요???

 크기변환_포맷변환_제목 없음.jpg

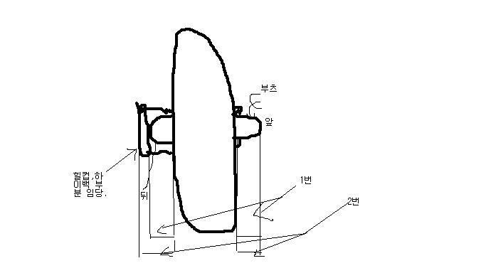
1번으로 데크에서 부츠앞뒤 거리 재었습니다,,그림을 못그려 상세설명했음당..1번이 맞는지...

마지막으로 한장더  ㅡ.ㅡ;;

포맷변환_크기변환_제목 없음.jpg 

요거 데크 중심에서 바인딩 센터 까지거리도 똑같아야 되나요?

이거 힘들든데요..앞쪽은 6홀 뒤쪽은 5홀 이던데 앞쪽에 5홀 부터 맞쳐도 거리가 똑같이 안나와용??바인딩을 횡으로조립할수도 없구ㅡ.ㅡ;;

 

이상 초보보더 첨장비구입으로 인하여 민폐를 끼치네요..

조언 부탁 합니다..


꼬부랑털_스키보더

2012.09.20 00:01:12
*.246.192.142

위 그림의 2번길이가 같아야 되는걸로 알고 있어요

불금불토

2012.09.20 00:17:04
*.24.4.129

잘못 헸구나... 다시 해야 될듯 하네요ㅡ/.ㅡ

더확실하게

2012.09.20 00:01:41
*.199.58.91

첫번째 질문엔 일단 1번이구요 ^^ 부츠만 보시면 됩니다.

부츠보단 힐컵이 뒤에있으나 부츠만으로 센터링~ 


두번째 질문은 데크 센터로부터 양쪽 바인딩까지의 거리가 다르다는 말씀이신것 같은데요.

일단 팝스타데크가 디렉트윈이라서요 원래 노즈쪽이 테일쪽보다 살짝 더 깁니다. 체결하시면 셋백이 있어서

양쪽으로 길이가 다를수 밖에 없는거구요 ^^  전체 스탠스폭은 본인이 편한대루 맞추시면 됩니다.


일부러 트윈으로 맞추고 타시려고 조정하시는거면 디스크의 방향을 돌리시면 될거구요.

도움되셨길~ ^^

불금불토

2012.09.20 00:18:03
*.24.4.129

상세한 설명감사 합니다  바인딩이 앞으로 가면 데크 뒤로는 삐져 나오진 않겠네요 ㅎㅎ

꼬부랑털_스키보더

2012.09.20 00:03:32
*.246.192.142

아래 그림은 양쪽 다 같은위치가 정식 정통 정형인데.. 정~~~~ 불편하실 경우 테일쪽으로 한칸 미시면 되여

불금불토

2012.09.20 00:18:51
*.24.4.129

조언 감사 합니다..

약간 불편해서리 ㅎㅎㅎ

무!를 주!세요

2012.09.20 02:12:11
*.209.42.11

사진으로 봐서는 너무 많이 나오는것 같은데요..붓아웃 아닌가요..?

일단 라이딩 해봐야 알겠지만...상급 슬롭 라이딩시 부츠가 설면에 닿는 붓아웃이 염려됩니다..

(요건 바인딩+부츠의 높이에 따라 아닐수도 있기에.. 라이딩 해봐야 알겠습니다..)

 

두번째 질문은 크게 신경 안쓰셔도 됩니다.. 원래 디렉셔널 트윈데크도 많고 뒤로 2~5cm가량 테일쪽으로 갑니다..

BUGATTI

2012.09.20 02:17:34
*.70.168.60

사진을 참고해주세요 ^^ 1번으로 저는 알고 있구요.. ^^;;05b52b1563b58bbd9d4668a4048f9e28.jpg


이건 한국사이트이구

http://www.boardworld.com.au/snowboarding/content/category/stance-and-snowboard-setup/

이건 원본사이트인듯 ^^? 


첨부

시영군

2012.09.20 02:50:37
*.34.136.121

하이백이 아니라?

부츠로 앞뒤 거리를 재는 건가요?

그럼 2번이 아니라 1번이 정답 아닌가요?

 

답변 다신 분들이랑 부가티님이 올려주신 사진이랑 답이 다르네요.

어떤 게 정답이죠?

저도 곧 셋팅해야 하는데...

rolexnam

2012.09.20 08:25:37
*.246.70.53

부츠~~~ 바인딩 nono~~

허슬두

2012.09.20 11:02:57
*.35.27.206

저도.. 부자티 님이랑 같은 의견입니다..  제가 알고 있기로도..  1번으로 알고 있었습니다..

 

이제 전문가 등장해주세요~!!

GOdolsZZZ

2012.09.20 11:26:03
*.160.41.27

많은 사이트를 봐도 1번으로 하라고 나오던데요 -0-

 

저도 궁금하네요~

달려라 크루쿠

2012.09.20 17:16:38
*.252.178.59

부가티님이 맞으시구염 ~저도 이걸로 많이 알아보고 공부했는데염~ 사람마다 무개중심이 달라서 앞으로 조금더 길게 아님 뒤로 조금더 길게 아니면 정석으로 부가티님께서 말씀하신거처럼여 ㅎㅎ 그러나 너무 깊이가면 머리터질거 같아서 부가티님말씀대로 저렇게 하고 탑니다^^90프로이상분이 저렇게 타실겁니다
List of Articles
번호 제목 글쓴이 날짜 조회 수
공지 [묻고답하기 게시판 이용안내] [9] Rider 2017-03-14 183749
54826 트랜스월드 스노우보딩 [2] 아메리칸 솔져 2012-09-19 850
» 바인딩 셋팅 해봤습니다..ㅎㅎ file [13] 불금불토 2012-09-19 604
54824 슬림핏으로 입으시는 분들 보호대 하시나요? [27] 산타존쿨리 2012-09-19 871
54823 부산 지하철 게릴라 판매 몇시에 하는지 아시는분 ~~ [8] 아이꼬 2012-09-19 945
54822 신상데크는 어느시기가 가장쌀까요..??? [23] zmalv 2012-09-19 826
54821 뎃글쓰기오류 어떻할까요? [21] 데스보더 2012-09-19 525
54820 메트릭스 바이브 데크 질문요 file [8] 육백만불 2012-09-19 770
54819 윽!!! 사이즈 미스인걸까요?;;;; file [16] 그냥총각 2012-09-19 692
54818 치프 지르기직전 s 냐 m이냐!! ㅠㅠ [14] 카뤼즈 2012-09-19 684
54817 부츠에 달려 있는거 사용 방법이 뭘까요 ㅡ.ㅡ;;사진 올립니당 file [19] 불금불토 2012-09-19 721
54816 뉴발란스 부츠 사용해 보신분요~ [8] 경희야~♡ 2012-09-19 730
54815 곤지암시즌권....대해서..알켜주세욕 [7] 아키 2012-09-19 599
54814 바인딩 부츠랑 조합 제대로한건지 봐주세요~ file [11] moonrise 2012-09-19 734
54813 헬멧 화이트냐 블랙이냐 골라주세요. file [38] 별과물 2012-09-19 626
54812 흰 + 흰 + 흰 조합 [20] nass 2012-09-19 664
54811 이 보호대 써보신 분 file [19] 제이캅 2012-09-19 700
54810 파워텍터나 다이네즈 상체보호대 사용자분들께 질문입니다~ [11] 이나중 보드부 2012-09-19 632
54809 12/13 캐피타인도어랑 rk30 바인딩 색 조합질문이요~~ [6] zmalv 2012-09-19 596
54808 12/13 캐피타인도어랑 rk30 바인딩 색 조합질문이요~~ [4] zmalv 2012-09-19 606
54807 사진을 찬찬히 보고있는데 [30] 천우운풍 2012-09-19 713